搬瓦工的OVZ套餐停售了,已售出的也会被停止续费,博主在今年5月买了一个512M的CN2 GT的KVM架构套餐,现在DC8被炒的很火,博主就试了一下,竟然也可以把机器迁到DC8机房,而且还给我换了一个IP(换IP、换IP、换IP),下面我就把我这个小鸡做一下整体的测评给大家,让大家看一下DC8机房的线路情况 。
NO1:机器配置
512M内存,SWAP131M,10G硬盘,KVM架构。

NO2:硬盘IO
IO确实还不错的。

NO3:下载测试
首先看国外节点

再看看国内的节点,这速度确实比较惊人。

NO4:Ping值
| 线路 | 最快节点 | 延时 | 最慢节点 | 延时 | 平均响应 |
| 电信 | 浙江绍兴 | 133ms | 新疆哈密 | 216ms | 166.6ms |
| 多线 | 上海 | 132ms | 河南郑州 | 171ms | 151.3ms |
| 联通 | 浙江嘉兴 | 132ms | 山西运城 | 212ms | 168.6ms |
| 移动 | 福建福州 | 172ms | 广东深圳 | 259ms | 215.5ms |
| 海外 | 美国 | <1ms | 俄罗斯 | 193ms | 104.2ms |
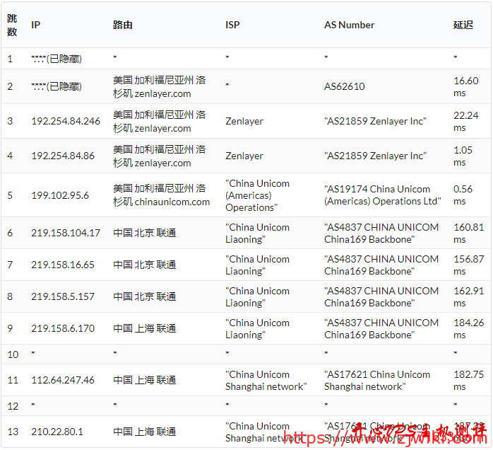
NO5:三网路由
我们看一下电信先,CN2 GIA

下面是移动的路由

联通的也来

可以看到,全部都是直连线路。
NO6:视频速度
这是一个网友测评4K视频,如果网络好可以达到3W多,目前晚上高峰测试。

未经允许不得转载:主机阁 » #VPS测评#搬瓦工DC8机房:KVM 512M内存套餐
相关推荐
Contabo×OpenClaw:一键拥有专属自托管 AI 助手,€3.6 / 月开启 AI 自动化新时代
搬瓦工最新优惠码:AMD 1核/1GB/20GB SSD/1TB@2.5Gbps,$46.6/季,可选洛杉矶CN2 GIA(DC6/DC9)/纽约CN2 GIA/加拿大CN2 GIA等
Rarecloud:全场vps首付6折,€2.2/月起,可选日本/美国/英国/罗马尼亚等机房
#新春促销#vmiss:全场VPS7折起,低至8.9元,香港/美国/韩国/日本机房,可选CN2 GIA/AS9929/CMIN2/软银等线路
#庆祝2026新春#VmShell:香港CMIN2优惠活动,$33/年起,支持USDT/PAYPAL/支付宝,3日内原路退款
#农历新年促销#UFOVPS:充值翻倍送,香港/日本/美国VPS月付9.5折年付8折起,新用户下单送30元
CstoneCloud:新春特惠重磅上新!美国 9929 / 香港 CN2 云服务器低至 24 元 / 月 月付 8 折年付 6 折,解锁tiktok ChatGPT等
WPCOM 精品 WordPress 主题特惠来袭!全场景适配,建站省心又高效

主机阁