前言
在文章里我们经常会提到电信CN2和CN2 GIA线路,那么这些线路是怎么区分的,它们是怎么被定义的呢,今天博主就收集了一些资料,给大家分享一下做为参考。
中国电信出口介绍
中国电信(China Telecom),是中国最大的互联服务提供商,截止2018年1月,中国电信的总出口带宽数为 3.6 Tbps,为互联网用户提供高速稳定的全中国资源访问服务。目前,中国电信骨干网的三大国际出口分别是,北京,上海,广州,全国的出口网络最后都会汇集到这三个出口点。
ChinaNet介绍
ChinaNet(有朋友称之为CN1),官方没有这种叫法,官方全称为Chinatelecom Next Carrier Network,我们也经常叫到163骨干网,一般介绍VPS的时候说走电信骨干就是走这个线路,ChinaNet为几千万用户提供宽带服务,国内出口宽带大部分走是走这个线路,这是中国最早建设的一代出口宽带,带宽比较大,而且也比较便宜,用户也众多,一般情况一下ChinaNet走以下的路由:
|
1
2
|
202.97.*.* //上海电信
202.97.*.* //美国
|
这个线路基本都是从上海走出口到美国,AS号为AS4134。
下面是我DO的VPS路由。可以看到走提电信骨干网

电信CN2
电信CN2(全称Chinatelecom Next Carrier Network), 是163骨干之后电信的新一代出口承载网络,AS号为AS4809,这一代主要是为了提供更高质量的线路连接而建设的,能够实现全球的快速连接,为欧洲、北美和亚洲之间线路提供更稳定的转接服务,但是由于建设的时候宽带相对较小,所以受众的用户也比较少,基本上是企业、政府机关、金融服务等企事业单位用户来使用,当然价格比第一代要贵。
下图为CN2全球的节点

CN2又分为CN2 GT和CN2 GIA
CN2 GT
GT 英文是 Global Transit,为全球客户提供访问全球互联网资源的转接服务。提供给全球的通讯运营商,截止目前,中国电信已经与国际Tier1/2 运营商以及主流OTT建立超过5000G的互联带宽,本身接入网络是 ChinaNet(AS4134),但是直连中国电信 CN2(AS4809) 的一个服务。CN2 GT 中国国际出口拥有自己的单独线路,但是在国内的链路还是使用的 163 骨干网络。
CN2 GIA
GIA 英文是 Global Internet Access,为企业客户提供优质的中国方向互联网专线接入服务,注意 GIA 专指与中国的专线服务。主要是提供给企业的优质网络,本身接入网络 CN2(AS4809),出口全程 CN2(AS4809) 路由,国际网路高速稳定链接中国内地网络。这种带宽的质量应当是电信网络最好的,但是缺点也比较明显,整个 GIA 的出口带宽较小,在较大流量攻击的时候更容易导致整个 GIA 下的网络波动。GIA 的主要优势是回国有单独的线路,高优先级,高质量,但接入价格较贵。
如何区分CN2 GT和CN2 GIA
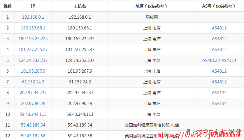
先了解一下中国那些城市有CN2线路,成都,南京,西安,武汉,乌鲁木齐,广州,上海,北京,这些城市有是CN2线路的,那么怎么判断是走CN2 GT还是GIA呢?一般我们知道CN2是必须要走 59.43.*.*,但很多城市在测试下来,先走到202.97.*.*再到59.43.*.*,这样我们就判断线路走GT其实是错误的,因为并不是所有城市都是CN2 GIA,有些没有的话是先走ChinaNet到了出口的时候再走GIA,唯一的一个城市不走ChinaNet的就是上海,所以我们只需要用上海电信来测试,如果是直接走59.43.*.*到国外的,那一定是CN2 GIA了。
我用我自己的在搬瓦工的GT测试了一下,很明显的GT网络。
另外目前国外各个CN2节点的延时情况如下:
| 香港 | 首尔 | 东京 | 新加坡 | 莫斯科 | 圣何塞 | 洛杉矶 | 法兰克福 | 西雅图 |
|---|---|---|---|---|---|---|---|---|
| 28.27 | 60.37 | 67.32 | 67.65 | 134.78 | 166.44 | 175.62 | 180.65 | 185.47 |
这就是为什么圣何塞的CN2线路为什么会这么火热的原因了,在美国境内圣何塞是目前延时最低的。

主机阁







