virtono之前博主就多次介绍过,是一家罗马尼亚主机商家,商家提供的产品有虚拟主机、VPS及独立服务器,机房有罗马尼亚、德国、荷兰、英国、美国等地,今天收到了商家的促销邮件,针对两款OpenVZ虚拟架构的机器进行促销,512M套餐的年付仅需9.95欧元,折合人民币每月大概5块钱,1G套餐年付19.95欧元,所有配置全部翻倍,IP也有2个,性价比非常不错,五个数据中心可以选择,有需要的可以上车。

官方网站
VPS套餐
注意:注册时请不要挂代理,商家对于注册控制比较严格,请尽量以真实资料注册,那怕看起来像真实资料。
|
|
迈阿密机房测评
|
1
2
3
4
5
6
7
8
9
10
11
12
13
14
|
————————————————————————–
CPU 型号 : Intel(R) Xeon(R) CPU X5650 @ 2.67GHz
CPU 核心数 : 1
CPU 频率 : 1333.396 MHz
总硬盘大小 : 20.0 GB (0.6 GB Used)
总内存大小 : 512 MB (64 MB Used)
SWAP大小 : 1024 MB (0 MB Used)
开机时长 : 0 days, 0 hour 3 min
系统负载 : 1.16, 0.30, 0.09
系统 : CentOS 7.2.1511
架构 : x86_64 (64 Bit)
内核 : 2.6.32-042stab130.1
虚拟化平台 : openvz
————————————————————————–
|
硬盘IO
SSD的硬盘,IO方面表现一般,应该是有比较喜欢折腾的邻居。
|
1
2
3
4
5
|
————————————————————————–
硬盘I/O (第一次测试) : 145 MB/s
硬盘I/O (第二次测试) : 199 MB/s
硬盘I/O (第三次测试) : 304 MB/s
————————————————————————–
|
下载测试
国外节点
|
1
2
3
4
5
6
7
8
9
10
11
12
13
14
|
————————————————————————–
节点名称 IP地址 下载速度 延迟
CacheFly 205.234.175.175 31.4MB/s 0.454 ms
Linode, Tokyo, JP 106.187.96.148 11.3MB/s 169.855 ms
Linode, Singapore, SG 139.162.23.4 6.80MB/s 260.283 ms
Linode, London, UK 176.58.107.39 16.4MB/s 106.174 ms
Linode, Frankfurt, DE 139.162.130.8 16.2MB/s 119.259 ms
Linode, Fremont, CA 50.116.14.9 25.3MB/s 77.048 ms
Softlayer, Dallas, TX 173.192.68.18 41.6MB/s 29.770 ms
Softlayer, Seattle, WA 67.228.112.250 25.2MB/s 68.438 ms
Softlayer, Frankfurt, DE 159.122.69.4 18.2MB/s 108.791 ms
Softlayer, Singapore, SG 119.81.28.170 6.60MB/s 244.125 ms
Softlayer, HongKong, CN 119.81.130.170 9.50MB/s 218.838 ms
————————————————————————–
|
国内节点
|
1
2
3
4
5
6
7
8
9
10
|
————————————————————————–
节点名称 上传速度 下载速度 延迟
襄阳电信 15.06Mbit/s 50.78Mbit/s 772.116ms
上海电信 9.27Mbit/s 53.45Mbit/s 758.996ms
西安电信 1.87Mbit/s 12.35Mbit/s 625.677ms
上海联通 3.60 Mbit/s 14.21 Mbit/s 265.94 ms
重庆联通 2.35Mbit/s 21.49Mbit/s 609.872ms
北京联通 2.64Mbit/s 18.28Mbit/s 606.952ms
湖南电信 8.11Mbit/s 61.06Mbit/s 268.276ms
————————————————————————–
|
宝塔评分

Ping测试
| 线路 | 最快节点 | 延时 | 最慢节点 | 延时 | 平均响应 |
| 电信 | 江苏宿迁 | 203ms | 云南昆明 | 466ms | 240.2ms |
| 多线 | 江苏常州 | 208ms | 内蒙古呼和浩特 | 255ms | 229ms |
| 联通 | 江苏徐州 | 210ms | 辽宁沈阳 | 386ms | 261.7ms |
| 移动 | 广东深圳 | 327ms | 陕西西安 | 334ms | 330ms |
| 海外 | 美国纽约 | 34ms | 新加坡 | 285ms | 161.7ms |
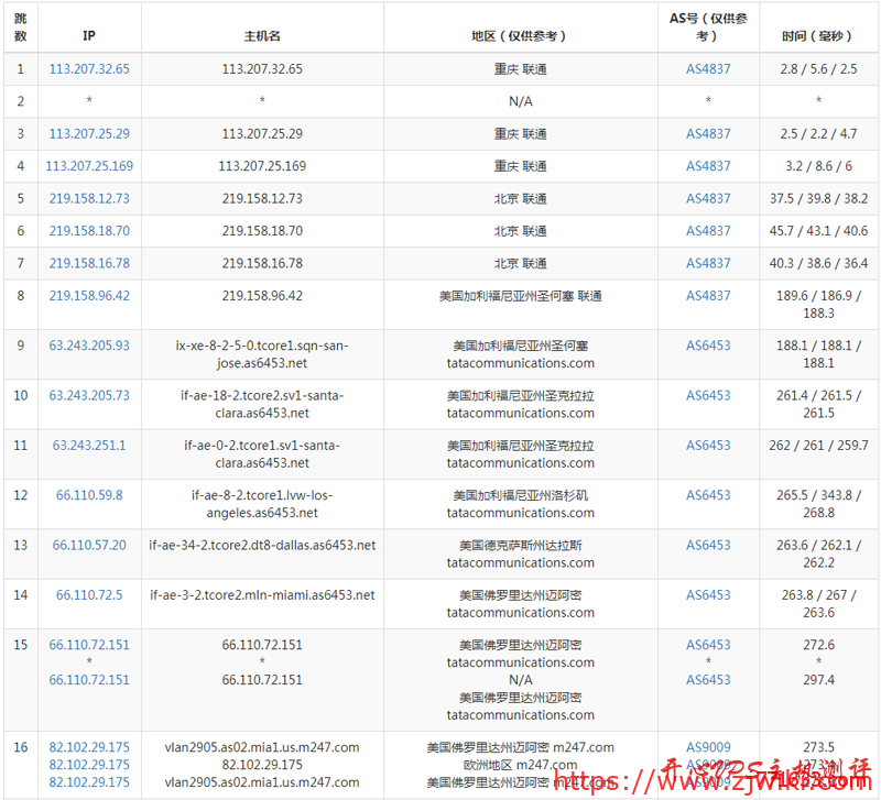
路由追踪
电信路由

联通路由

移动路由

电信回程
|
1
2
3
4
5
6
7
8
9
10
11
12
13
14
15
16
17
|
1 93.119.178.25 0.19ms AS9009 United States Florida Miami virtono.com
2 vlan2905.bb1.mia1.us.m247.com(82.102.29.174) 20.02ms AS9009 United States Florida Miami m247.com
3 te0-3-1-14.201.nr51.b002802-5.mia01.atlas.cogentco.com(38.140.53.65) 0.78ms AS174 United States Florida Miami cogentco.com
4 be3763.rcr21.b002802-2.mia01.atlas.cogentco.com(154.24.30.129) 1.00ms AS174 United States Florida Miami cogentco.com
5 be3410.ccr21.mia01.atlas.cogentco.com(154.54.6.85) 1.06ms AS174 United States Florida Miami cogentco.com
6 be3569.ccr41.iah01.atlas.cogentco.com(154.54.82.241) 28.29ms AS174 United States Texas Houston cogentco.com
7 be2927.ccr21.elp01.atlas.cogentco.com(154.54.29.222) 43.72ms AS174 United States Texas El Paso cogentco.com
8 be2930.ccr32.phx01.atlas.cogentco.com(154.54.42.77) 52.26ms AS174 United States Arizona Phoenix cogentco.com
9 be2932.ccr42.lax01.atlas.cogentco.com(154.54.45.162) 63.74ms AS174 United States California Los Angeles cogentco.com
10 be3360.ccr41.lax04.atlas.cogentco.com (154.54.25.150) 64.10 ms AS174 United States California Los Angeles cogentco.com
11 38.104.83.198 68.34 ms AS174 United States California Los Angeles cogentco.com
12 202.97.49.105 68.46 ms AS4134 United States California Los Angeles ChinaTelecom
13 202.97.89.141 229.93 ms AS4134 China Jiangsu Nanjing ChinaTelecom
14 202.97.90.58 231.63 ms AS4134 China Shanghai ChinaTelecom
15 202.97.57.158 262.93 ms AS4134 China Shanghai ChinaTelecom
16 101.95.88.5 218.56 ms AS4812 China Shanghai ChinaTelecom
17 101.95.120.109 228.83 ms AS4812 China Shanghai ChinaTelecom
|
联通回程
|
1
2
3
4
5
6
7
8
9
10
11
12
13
14
15
16
|
1 93.119.178.25 0.19ms AS9009 United States Florida Miami virtono.com
2 vlan2905.bb1.mia1.us.m247.com(82.102.29.174) 0.32ms AS9009 United States Florida Miami m247.com
3 mai-b1-link.telia.net(80.239.167.152) 2.19ms AS1299 United States Florida Miami telia.com
4 atl-b24-link.telia.net(62.115.113.48) 18.03ms AS1299 United States Georgia Atlanta telia.com
5 atl-b22-link.telia.net(62.115.113.24) 17.95ms AS1299 United States Georgia Atlanta telia.com
6 dls-b22-link.telia.net(62.115.120.113) 35.21ms AS1299 United States Texas Dallas telia.com
7 las-b24-link.telia.net(62.115.118.247) 63.84ms AS1299 United States California Los Angeles telia.com
8 chinaunicom-ic-155914-las-bb1.c.telia.net(213.248.82.206) 220.66ms AS1299 United States California Los Angeles telia.com
9 219.158.96.25 232.82ms AS4837 China Beijing ChinaUnicom
10 *
11 219.158.4.173 231.58 ms AS4837 China Beijing ChinaUnicom
12 219.158.110.206 251.23 ms AS4837 China Sichuan Chengdu ChinaUnicom
13 119.6.197.254 274.24 ms AS4837 China Sichuan Chengdu ChinaUnicom
14 119.6.196.206 270.49 ms AS4837 China Sichuan Chengdu ChinaUnicom
15 119.7.220.218 267.16 ms AS4837 China Sichuan Chengdu ChinaUnicom
16 119.6.6.6 251.01 ms AS4837 China Sichuan Chengdu ChinaUnicom
|
移动路由
|
1
2
3
4
5
6
7
8
9
10
11
12
13
14
15
16
17
18
|
1 93.119.178.25 0.20ms AS9009 United States Florida Miami virtono.com
2 vlan2905.bb1.mia1.us.m247.com(82.102.29.174) 0.42ms AS9009 United States Florida Miami m247.com
3 mai-b1-link.telia.net(80.239.167.152) 0.80ms AS1299 United States Florida Miami telia.com
4 *
5 atl-b22-link.telia.net(62.115.113.24) 19.69ms AS1299 United States Georgia Atlanta telia.com
6 dls-b22-link.telia.net(62.115.120.113) 35.49ms AS1299 United States Texas Dallas telia.com
7 las-b24-link.telia.net(62.115.118.247) 65.61ms AS1299 United States California Los Angeles telia.com
8 chinamobile-ic-327136-las-b24.c.telia.net(62.115.37.99) 169.36ms AS1299 United States California Los Angeles telia.com
9 *
10 223.120.13.38 342.11 ms AS58453 China ChinaMobile
11 221.183.55.30 342.86 ms AS9808 China Shanghai ChinaMobile
12 221.183.25.189 347.68 ms AS9808 China Shanghai ChinaMobile
13 *
14 *
15 *
16 *
17 *
18 183.192.160.3 346.30 ms AS9808 China Shanghai ChinaMobile
|
相关推荐
AcckCloud:香港国际线路VPS,1核/1GB内存/5GB SSD/不限流量/1Gbps端口,25元/月,澳门IP
TNAHosting:芝加哥vps,8折,2核/1GB内存/30GB SSD/15TB流量/1Gbps端口,$12/年
EtherNetservers: 低价VPS,1核/1GB/55GB SSD/2TB@10Gbps,$3/月起,洛杉矶 & 新泽西 & 迈阿密 & 德国四机房
ColoCrossing:超值促销,美国 VPS / 裸机云服务器 5 折,低至 $1.97 / 月起
EasyHeberg:限时 7 折! 法国高性能 VPS,4 核 / 8G 年付€40 起 + 1Gbps 无限流量 + 解锁法国流媒体
ExtraVM:超值 VPS 来袭!1 核 1GB+15GB NVMe+1Gbps@5TB,月付 $3.5 起,全球多机房可选
Onidel:重磅上线新加坡/悉尼大硬盘VPS,1核/1GB内存/20G SSD+1000G HDD/1TB流量/1Gbps带宽,$33/年起
VollCloud:2026 新年促销重磅来袭!HK CMI 线路升级,VPS 全场 8 折,$47.2/年起,年付最低送300G月流量/100M带宽

主机阁
